通用汽车申请尺寸可调节座椅专利
据外媒报道,通用汽车公司已提交一项汽车座椅系统专利申请,该系统允许用户调节座椅尺寸。该专利申请的专利号为US 2025/0376097 A1,于2025年6月6日提交至美国专利商标局(USPTO)。相关文件于2025年12月11日公布,并列出了多位美国工程师作为发明人,包括Edward T. Kucynski、Daniel J. Ridgeway、Bonita J. Thomas、Jill M. Green、Matthew R. Cwynar、Matthew Isakson、Lindsay J. Nault、Marielle L. Day和Victoria F. Streberger。
根据专利描述,通用汽车的这项座椅系统能够自动主动地调节座椅的尺寸和舒适度,以更好地贴合驾乘人员个体需求。该系统的核心部分是位于座椅框架和座椅表面之间的特殊舒适层。该舒适层采用一个或多个可调节气压的气囊,并结合泡沫材料,使座椅在使用过程中能够改变形状、软硬度和支撑区域。

图片来源:USPTO
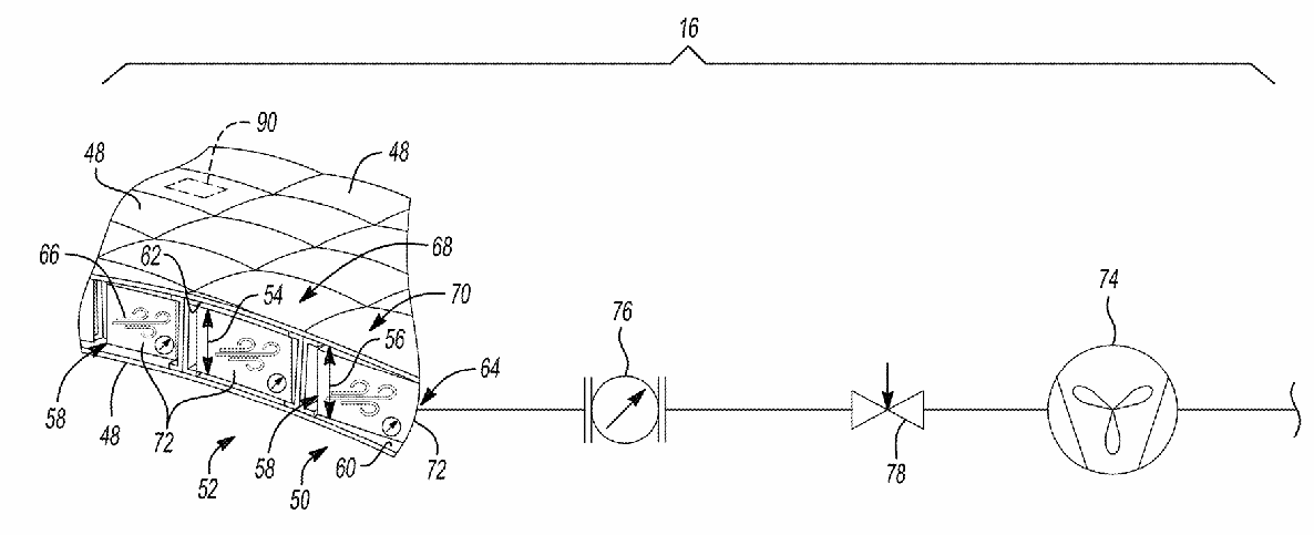
每个气囊都可以在充气和放气之间切换,从而改变其整体尺寸和硬度。充气时,气囊膨胀并变硬。放气时,气囊收缩,气囊内部的泡沫就能提供更柔软的支撑。泵系统通过向气囊内充气或抽气来控制气流。

图片来源:USPTO
根据通用汽车专利描述,该系统在座垫和椅背处布置了多个气囊。这些气囊可以对称排列并单独控制,从而对腰部、上背部、侧翼和腿部等区域进行针对性调节。部分气囊可以按设定程序循环充气和放气,为乘客提供按摩功能。

图片来源:USPTO
该座椅系统还可配备传感器,用于检测压力、座椅上是否有乘客或物品。这样,系统就能根据乘客的体型、身形或坐姿自动调整支撑力度。
根据专利描述,该系统不仅可用于汽车座椅,还可应用于其他领域。总体而言,该技术旨在以更具适应性和响应性的座椅解决方案来替代或补充传统的固定式泡沫衬垫,从而提供更佳的舒适性、个性化定制和符合人体工程学的支撑。
声明:本站所有文章资源内容,如无特殊说明或标注,均为采集网络资源。如若本站内容侵犯了原著者的合法权益,可联系本站删除。





