通用汽车申请非充气车轮设计专利
据外媒报道,通用汽车公司(GM)已提交一项关于非充气车轮设计的专利申请。该专利申请的专利号为US 12,508,841 B2,于2023年3月29日提交至美国专利商标局(USPTO)。相关文件于2025年12月30日公布,并列出了美国密歇根州工程师William David Robinson, III为发明人。

图片来源:USPTO
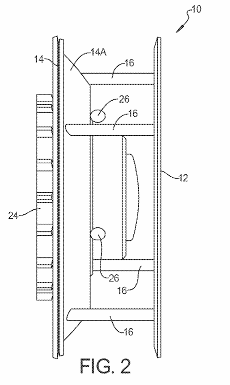
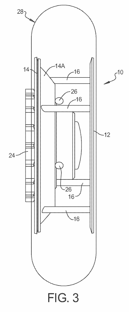
根据专利描述,通用汽车公司的这种车轮设计方案基本上摒弃了传统充气轮胎以及传统气动车轮所使用的封闭式轮辋结构。这种车轮并非依靠气压,而是采用了一种内部结构,该结构包括一个外侧环形胎圈和一个内侧环形胎圈。这两个胎圈通过间隔设置的支撑件连接,这些支撑件可以是杆、臂或梁。由于胎圈之间没有环形轮辋,这种车轮相较于传统气动车轮重量显著降低。

图片来源:USPTO
内侧环形胎圈包括一个延伸面,该延伸面可以适应多种安装需求,例如电动机和制动机构安装。专利说明指出,向内延伸的面设有一个具有特定直径的第一中心开口,而外侧环形胎圈则设有一个直径更大的第二中心开口。第一中心开口用于容纳电机的一部分,从而使电机能够直接安装到车轮总成上。

图片来源:USPTO
连接内外侧胎圈的支撑件数量为三到八个,这些支撑件可以通过焊接、紧固或其他方式固定在两个胎圈上。这些支撑件有助于保持车轮的结构完整性,同时有助于车轮保持轻便。此外,这种设计还能够在内外侧胎圈上安装非充气轮胎。
这种车轮设计或许颇具实用性,因为它通过去除传统车轮中的轮辋来减轻重量,并且能够直接集成电动机和制动组件,从而提供了一种适合电动汽车应用的模块化结构,且无需使用充气轮胎。
声明:本站所有文章资源内容,如无特殊说明或标注,均为采集网络资源。如若本站内容侵犯了原著者的合法权益,可联系本站删除。





