通用汽车申请多车串联充电系统专利
据外媒报道,通用汽车公司已提交一项专利申请,该专利申请涉及一种能够使用单个充电器为多辆电动汽车充电的充电系统。该专利申请的专利号为US 2026/0042364 A1,于2024年8月8日提交至美国专利商标局(USPTO)。该专利申请于2026年2月12日公布,其发明人为三位美国工程师,他们分别是Paul Rabahy、Jacob Adam St. George和Alexander T. Marlow。

图片来源: USPTO
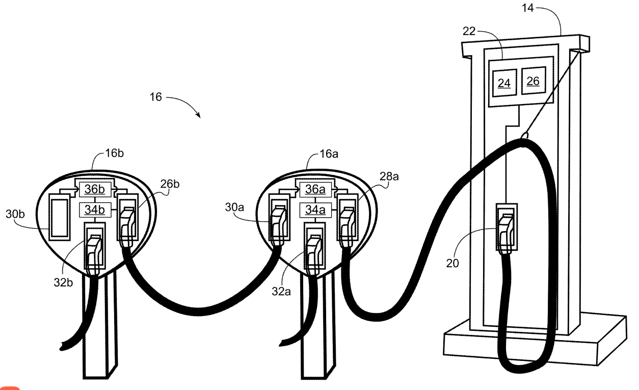
根据通用汽车的专利描述,该系统包括一个带充电端口的直流(DC)充电器以及一系列低功耗接入点(LPAP)。每个LPAP具有多个端口,包括两个“菊花链”端口和一个充电端口。LPAP串联连接到主直流充电器,从而使充电器的功率能够通过LPAP链进行分配。每个LPAP随后都能为另一辆电动汽车供电。该系统可用于同时为多辆电动汽车充电,每辆电动汽车连接到不同的LPAP。
控制器用于管理功率分配,它与每个LPAP通信,以确定所连接车辆的电池电压。基于此信息,系统可以控制直流充电器和LPAP,将充电功率定向到最需要的地方。
在某些情况下,系统会识别电池电压最低的车辆,并优先为其充电。控制器可以根据所连接车辆的需求,指示充电器提供特定的输出电压或电流。它还可以定期重新评估电池状况,并相应地调整充电策略。

图片来源: USPTO
该专利文件还描述了如何利用电动汽车通常配备的各种系统,例如电池单元、电池管理系统(BMS)、传感器和控制器,与充电设备通信,从而更好地管理充电参数。
充电基础设施的缺乏仍然是电动汽车广泛普及面临的主要障碍,而像这样的系统有助于缓解这一瓶颈,尤其是在多辆电动汽车需要同时充电的场所。
声明:本站所有文章资源内容,如无特殊说明或标注,均为采集网络资源。如若本站内容侵犯了原著者的合法权益,可联系本站删除。





